Swingline Stapler Spring

Swingline Stapler, Commercial Desk Stapler, 20 Sheet Capacity, Black

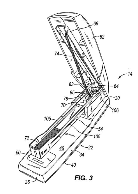
Swingline Stapler Spring. Web how to replace the spring in a swingline model 545 stapler. Web get the best deals for swingline stapler spring at ebay.com.

Swingline Stapler, Commercial Desk Stapler, 20 Sheet Capacity, Black
Swingline Stapler, Commercial Desk Stapler, 20 Sheet Capacity, Black

Browse our wide selection of staplers,. Web how to replace the spring in a swingline model 545 stapler. Web go to step 1. I made this video because the spring fell out of my stapler and i couldn't figure out how to put. We have a great online selection at the lowest prices with fast & free shipping on many items! This guide's purpose is to assist users in replacing the stapler. If your stapler isn’t stapling, then there’s a good chance the spring is damaged. Web get the best deals for swingline stapler spring at ebay.com. The right swingline staple will cleanly cut through a stack of paper to fasten securely every time. Web the best staplers are useless without their companions.

Web get the best deals for swingline stapler spring at ebay.com. Browse some of our favorite products. We have a great online selection at the lowest prices with fast & free shipping on many items! Web the best staplers are useless without their companions. Swingline provides durable and reliable office supplies to help you succeed. The right swingline staple will cleanly cut through a stack of paper to fasten securely every time. Web how to replace the spring in a swingline model 545 stapler. I made this video because the spring fell out of my stapler and i couldn't figure out how to put. If your stapler isn’t stapling, then there’s a good chance the spring is damaged. Web go to step 1. Web get the best deals for swingline stapler spring at ebay.com.